BLACK RACER
Ceramic Coated Linear Bearings require constant lubrication. High
system speeds or rapid
oscillation applications may
perform better with SAE 30
weight oil. Moderate to slow
speeds typically use light
greases such aslithium
stearates. The only lubricants
not compatible with Ceramic
Coated Bearings are those that
are silicon based. Silicon based
lubricants become gummy and can
lead to bearing seizure.
|
|
Black Racer Ceramic
Coated Linear Bearings Excel in applications
that present: |
-
High acceleration and blazing system speeds - Over 120 g's
successful operation
-
Simultaneous linear, oscillating and
rotary motion in 1 bearing
-
Contamination
- glass, metal shavings, abrasive dust
-
High Loads are Present
- 10x's more than linear ball bearings
-
Water, Chemical Washdown/Submersion
-
Shock & Vibration
- Dampens Vibration to Shaft & System
-
Smooth, Quiet Linear Motion is Required
- Medical/Office
-
Linear & Rotary Motion Together are Required
-
FDA Compliant when
used with a FDA Compliant Grease
|
|
|
 |
 |
SELF LUBRICATING
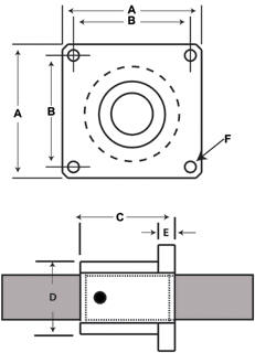
SINGLE FLANGE BLOCK BEARING ASSEMBLIES
Part Number Sample For 3/4" ID
SELF LUBRICATING Block
For Self-Aligning Bearing add (SA) to Part Number
CeramicCoated
Flange Block
Inch
Series |
Shaft
Diameter
Class L
Tolerance |
A
|
B
+/- .010 |
C |
D |
E
+/-
.010 |
F
Bolt |
F
Bolt Hole |
|
LF
6 |
3/8 |
1-1/4 |
0.875 |
1-5/16 |
7/8 |
0.1875 |
#6 |
5/32 |
|
LF 8
|
1/2" |
1-5/8 |
1.625 |
1-11/16 |
1-1/4 |
0.250 |
#8 |
3/16 |
|
LF
10 |
5/8 |
2 |
1.500 |
1-15/16 |
1-1/2 |
0.250 |
#8 |
3/16 |
|
LF 12 |
3/4 |
2-3/8 |
1.750 |
2-1/16 |
1-3/4 |
0.375 |
#10 |
7/32 |
|
LF 16 |
1 |
2-3/4 |
2.125 |
2-13/16 |
2-1/4 |
0.500 |
1/4 |
9/32 |
|
LF
20 |
1-1/4 |
3 |
2.250 |
3-5/8 |
2-1/2 |
0.500 |
1/4 |
9/32 |
|
LF 24 |
1-1/2 |
4 |
3.125 |
4 |
3-5/8 |
0.750 |
3/8 |
13/32 |
|
CERAMIC COATED DOUBLE FLANGE
BLOCK BEARING ASSEMBLIES
|
|
|
CeramicCoated
Double
Flange Block
Inch
Series
|
Shaft
Diameter
Class L
Tolerance
|
A |
B
|
C
|
D
|
E
|
F |
G |
|
|
+/- .010
|
|
Bolt Hole
|
+/- .010
|
Bolt |
Bolt Hole
|
|
*DFB 8
|
1/2
|
1-5/8 |
1.625
|
3-3/8
|
1-1/4
|
0.250
|
#8 |
3/16
|
|
DFB 12
|
3/4
|
2-3/8 |
1.750
|
4-3/16
|
1-3/4
|
0.375
|
#10 |
7/32
|
|
DFB 16
|
1
|
2-3/4 |
2.125
|
5-5/8
|
2-1/4
|
0.500
|
1/4 |
9/32
|
NOTE: Double
Length Pillow Blocks are not available in self-aligning
version because
two bearings on one shaft and in the same housing, lock each
other into a fixed position.
Use LM76
Precision Linear Shafting with Your Linear Bearings
www.LM76LinearBearingSolutions.com
|