LUBRICATION
BLACK RACER Ceramic Coated Linear Bearings require constant lubrication. High system speeds or rapid oscillation applications may perform better with SAE 30 weight oil. Moderate to slow speeds typically use light greases such as lithium stearates. The only lubricants not compatible with Ceramic Coated Bearings are those that are silicon based. Silicon based lubricants become gummy and can lead to bearing seizure.


Black Racer Ceramic Coated Linear
Bearings Excel in applications that present:

  • High acceleration and blazing system speeds - Over 120 g's successful operation

  • Simultaneous linear, oscillating and rotary motion in 1 bearing

  • Contamination -  glass, metal shavings, abrasive dust

  • High Loads are Present - 10x's more than linear ball bearings

  • Water, Chemical Washdown/Submersion

  • Shock & Vibration - Dampens Vibration to Shaft & System

  • Smooth, Quiet Linear Motion is Required - Medical/Office

  • Linear & Rotary Motion Together are Required

  • Shaft Friendly Linear Motion is Required - will not groove shafting

  • FDA Compliant when used with a FDA Compliant Grease

Ordering Part Number Sample: 1/4" Closed Twin Pillow Block 
For Self Aligning Bearings add (SA) to Part Number

LPB 4T SA

LM76 Linear Motion Bearings are direct drop-in replacements for linear ball bearings

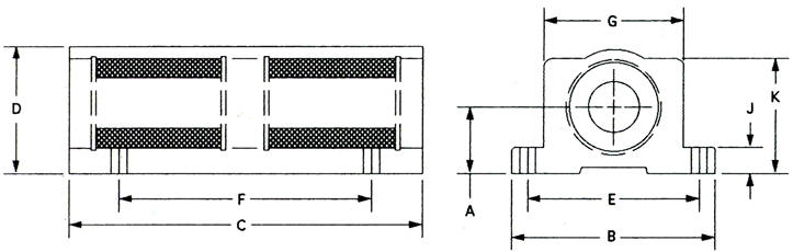
P/N     Working Bore            A    B C D E F G Bolt Hole J
Min
K
Inches Tol. +/-.002 +/-.010 +/-.010
LPB-4T .2505 +.001 .437 1-5/8 2-1/2 13/16 1.312 2.000 1 #6 5/32 3/16 3/4
LPB-6T .3755 +.001 .500 1-3/4 2-3/4 15/16 1.437 2.250 1-1/8 #6 5/32 3/16 7/8
LPB-8T .5005 +.001 .687 2 3-1/2 1-1/4 1.688 2.500 1-3/8 #6 5/32 1/4 1-1/8
LPB-10T .6255 +.001 .875 2-1/2 4 1-5/8 2.125 3.000 1-3/4 #8 3/16 9/32 1-7/16
LPB12T .7505 +.001 .937 2-3/4 4-1/2 1-3/4 2.375 3.500 1-7/8 #8 3/16 5/16 1-9/16
LPB-16T 1.0008 +.001 1.187 3-1/4 6 2-3/16 2.875 4.500 2-3/8 #10 7/32 3/8 1-15/16
LPB-20T 1.2508 +.001 1.500 4 7/1/2 2-13/16 3.500 5.500 3 #10 7/32 7/16 2-1/2
LPB-24T 1.5008 +.0015 1.750 4-3/4 9 3-1/4 4.125 6.500 3-1/2 1/4 9/32 1/2 2-7/8
LPB-32T 2.0012 +.0015 2.125 6 10 4.063 5.250 8.250 4.500 3/8 13/32 5/8 3.625